3D 프린터 운용기능사 실기 공개 도면 23번 실기 시험 대비 핵심적인 모델링 과정에 대해서 설명합니다.

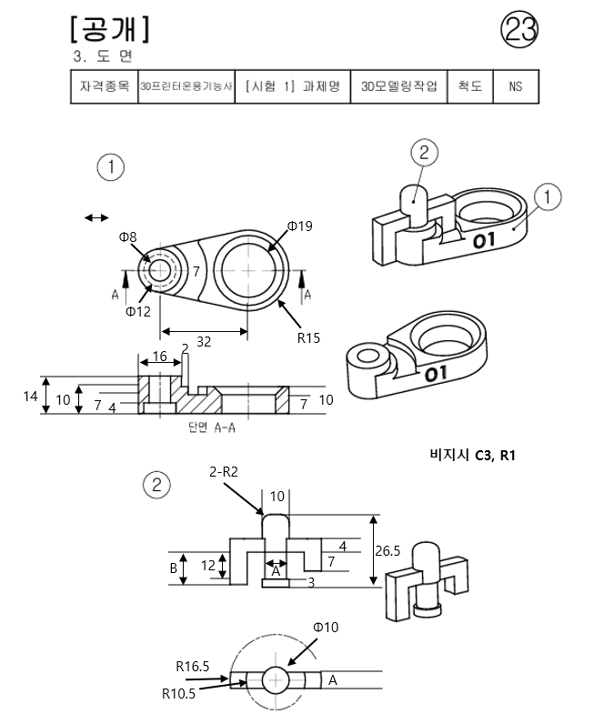
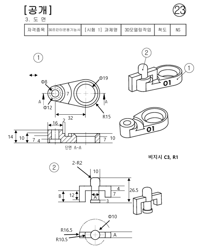
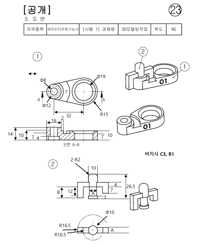
공개 도면 23번 수치

우선 A와 B를 구합니다.
A= 8 - 1 = 7
1번 부품의 원통 모양의 지름이 8이므로 그 안에 부품 2가 들어가야 하므로 공차 1을 차감하여 부품 2의 원통 모양의 지름은 7이 됩니다. 원기둥은 경우 R=3.5가 됩니다.
B = 14 + 1 = 15
2번 부품이 1번 부품보다 커야 하므로 1번 부품 높이가 14이므로 공차 1을 더하여 2번 부품의 높이는 15가 됩니다.
1번 부품
1번의 첫 번째를 작도하여 줍니다.
우선 직선 32를 그리고 양 끝에 원을 두 개를 그려줍니다. 왼쪽은 지름 8, 오른쪽은 지름 30입니다.

그리고 왼쪽 원, 오른쪽 원을 선택해서 임의의 수치로 돌출시킵니다. 그리고 작도한 것을 지우고 프로젝트 기능으로 투영도를 만들어 줍니다.
(Hide solids 후 작도 삭제 Show solids 하면 도형만 나온 후 Project 처리)

투영 도면이 나오면 작은 원의 테두리 위의 임의의 점을 선택 시작해서 큰 원의 접하게 일단 직선을 그립니다. 큰 원의 접하는 점은 큰 원 테두리를 지나가다 보면 커서가 큰 점으로 변하여 쉽게 인지할 수 있습니다. 그리고 작은 원의 점을 움직여서 다시 작은 원에 접하게 이동합니다. 반드시 처음 점은 임의의 점이므로 반드시 연결된 점을 이동해서 원에 작업을 해야 합니다. 아래쪽 접선도 동일한 방식으로 두 원에 접하게 접선을 그려줍니다.
작도 핵심사항

* 특히 주의사항 : 원에 접선을 그릴 때는 입체도형을 만든 후 투영도(Project 기능)를 통하여 접선을 그려야 원 모양이 고정상태에서 접선을 그릴 수 있습니다.
그리고 나머지 선들도 모두 그려줍니다.

불필요한 선들을 Trim으로 제거해 줍니다.

핵심 입체도형 만들기
도면 수치의 측면도를 보면서 돌출(Extrude)을 해야 합니다.
우선 지름 16인 왼쪽의 원 부분을 선택하여 14만큼 돌출하여 줍니다.
두 번째는 지름 16 원 측면의 초승달 모양의 면적(가로 2)을 선택하여 10만큼 돌출합니다.
세 번째는 그 옆의 초승달 모양 면적(가로 7)을 선택하여 7만큼 돌출합니다.
마지막으로 오른쪽의 내부 원을 제외한 면적을 선택하여 10만큼 돌출합니다.
위의 작업이 완료되면 아래와 같은 입체도형이 만들어집니다.

* 입체 도형이 있는 상태에서 붙어있는 면적을 돌출하면 생성 후 결합됩니다.
세부 처리
오른쪽 내부의 원을 선택하여 모떼기 3, 즉 Chamfer 3을 처리합니다.
중간의 모서리 2개를 모 깎기 R1, Fillet 1을 처리하여 주면 아래와 같은 모양이 됩니다.

내부 원기둥 차감 처리
이 입체도형이 나온 후 작은 원의 내부에 원기둥이 비어 있으므로 이 입체 도형을 숨긴 후 지름 12인 원의 면적을 선택하여 4만큼 돌출합니다.
그다음 입체도형을 보이게 한 후 큰 입체도형에서 지름 12 원, 높이 4인 원기둥을 차감할 하시면 됩니다.


1번 부품 비번호 음각
Text를 선택한 후 글자를 입력할 면을 선택 후 위치를 선택하여 비번호를 입력합니다. 그리고 입력한 Text를 선택하여 Extrude -1을 하여 음각처리합니다.

2번 부품
2번 부품 중심축
2번 부품의 구성을 위하여 우선 가운데 중심축을 생성합니다.
가운데 중심축은 원기둥 3개로 구성됩니다.
1) 지름 10 (R = 10/2 = 5), 높이 11.5( = 26.5 - 15)인 원 기둥
2) 지름 A (R=7.5/2 = 3.5) , 높이 B 인 원기둥 (A=7, B=15)
3) 지름 11(= 12 - 1) 높이 3( = 4 - 1)인 원기둥
우선 2,3번 원기둥을 중앙, 하단 정렬하여 결합(Merge)합니다.
그다음 1을 위의 결합된 상단의 원형면에 자석 기능을 이용하여 붙여 준 준 결합하면 아래와 같은 입체도형이 만들어집니다.

2번 부품 날개 모양
직육면체 모양과 테두리 부분이 곡면 모양으로 되어 있습니다.
직육면체와 원기둥을 이용하여 교체되는 부분을 만든 후 다시 내부와 하단을 원기둥이나 직육면체로으로 차감하는 형식으로 만들게 됩니다.
아래와 같이 길이 6, 너비 33( = 16.5 * 2) 높이 15인 박스(직육면체)를 만듭니다.
그리고 원기둥 R=16.5, H=15를 생성합니다.
내부 차감을 위하여 원기둥 R=10.5 H=11)을 생성합니다.

박스와 큰 원기둥을 중앙 정렬합니다. 그리고 교차되는 부분만을 남기는 Intersection 기능으로 두 도형을 처리합니다. 그러면 직육면체 모양의 외곽면이 곡면이 됩니다.

외곽면이 곡면인 입체도형과 작은 원기둥을 중앙 하단 정렬을 하면 아래와 같습니다.

외곽면이 곡면인 입체도형과 작은 원기둥을 중앙 하단 정렬을 하면 아래와 같습니다.
그리고 하단의 공간을 만들어주기 위하여 2개의 직육면체를 만들어줍니다. 왼쪽과 오른쪽의 높이가 다르므로 2개를 만드는 것입니다.
Box 6, 10, 3
Box 6, 10, 8
10은 임의 수치 이므로 최소 7 이상을 되어야 하고 정렬 편의상 33으로 해도 됩니다.

위의 부품을 아래와 같이 정렬하여 차갑처리 준비를 합니다.

위의 도형을 큰 입면체에서 하단 입면체를 차감(Subtract) 처리합니다.
그리고 중심축의 상단 원을 선택하여 R=2를 처리하면 아래와 같이 됩니다.

두 입면체를 그대로 중앙정렬하여 결합하여 주면 1번 부품의 완성됩니다.

1번, 2번 부품 완성

1번, 2번 부품 조립
정렬(Arrage), 이동(Move)을 통하여 아래와 같이 원형 홈에 맞추어 줍니다.

출력 방향
2번 부품을 중심축을 기준으로 외전 하여 아래와 같이 한 후 출력하면 후처리에 최적입니다.

검증 화면(윤곽선 모드)
완성 후 윗면
원형 부분은 잘 맞는지 꼭 확인해야 합니다.

완성 후 측면
측면 또한 공차 부분이 적당하게 확보되어 있는지 확인합니다.

완성 후 전면
공차 부분이 적당하게 확보되어 있는지 확인합니다.

3D 프린터 운용기능사 공개 도면, 기출문제 풀이가 도움이 되었기를 바라고, 시험에 꼭 합격하시기를 바랍니다.